TQ-L12平行梁称重传感器
编号:10265
查看:
发布:2025-12-06
TQ-L12平行梁称重传感器铝合金材质,平行梁结构,硅橡胶密封,表面阳极化,耐腐蚀性佳,产品结构形式简单,使用方便。 TQ-L12平行梁称重传感器适用于电子计价秤、电子计数秤,电子天平等各类电子称重设备
编号:10265
查看:
发布:2025-12-06
TQ-L12平行梁称重传感器铝合金材质,平行梁结构,硅橡胶密封,表面阳极化,耐腐蚀性佳,产品结构形式简单,使用方便。 TQ-L12平行梁称重传感器适用于电子计价秤、电子计数秤,电子天平等各类电子称重设备
产品特点:TQ-L12平行梁称重传感器铝合金材质,平行梁结构,硅橡胶密封,表面阳极化,耐腐蚀性佳,产品结构形式简单,使用方便。
产品用途:TQ-L12平行梁称重传感器适用于电子计价秤、电子计数秤,电子天平等各类电子称重设备
量程:3kg、6kg、8kg、15kg、20kg、30kg、50kg
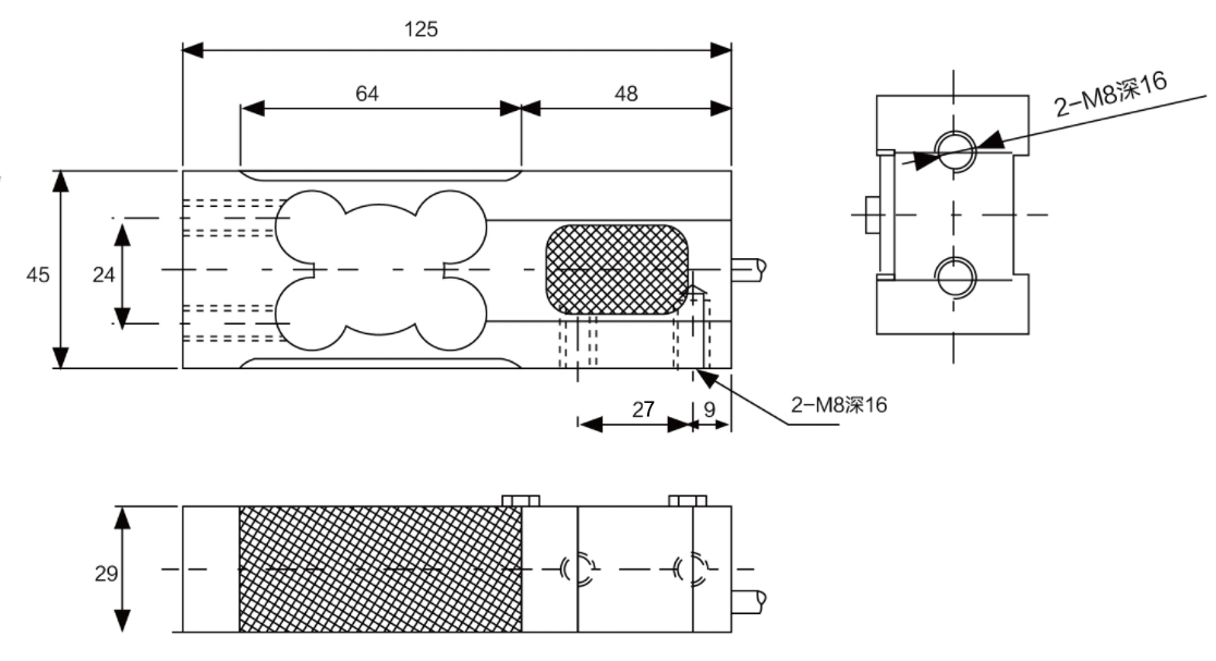
技术参数及外形尺寸:
序号 | 产品技术参数 | |
1 | 额定载荷 | 3kg-50kg |
3 | 灵敏度 | 2.0mV/V |
4 | 零点输出 | ≤0.1%F.S |
5 | 输入阻抗 | 409±6Ω |
6 | 输出阻抗 | 350±3Ω |
7 | 绝缘阻抗 | ≥5000MΩ |
8 | 温度补偿范围 | -10~40℃ |
9 | 允许使用温度范围 | -35~65℃ |
10 | 安全过载 | 150%F.S |
11 | 极限载荷 | 300%F.S |
12 | 材质 | 铝合金 |
13 | 推荐工作电压 | 5-12VDC |
14 | 四角误差 | 0.02%加载值/100mm |
15 | 接线方式 | 红……Exc+(输入正) 黑……Exc-(输入负) 绿……Sig+(输出正) 白……Sig-(输出负) |

图片与实物略有差异,以实物为准 / 济南泰钦保留随时更改、撤消产品型号、规格的权利,恕不另行通知