TQ-B1波纹管式称重传感器
编号:10231
查看:
发布:2020-08-14
TQ-B1波纹管式称重传感器采用不锈钢波纹管焊接密封型式,可承受拉、压两种受力型式,抗过载、抗疲劳、抗偏载能力强。 TQ-B1波纹管式称重传感器适用于平台秤、包装秤、皮带秤及罐装秤等。
编号:10231
查看:
发布:2020-08-14
TQ-B1波纹管式称重传感器采用不锈钢波纹管焊接密封型式,可承受拉、压两种受力型式,抗过载、抗疲劳、抗偏载能力强。 TQ-B1波纹管式称重传感器适用于平台秤、包装秤、皮带秤及罐装秤等。
产品特点:TQ-B1波纹管式称重传感器采用不锈钢波纹管焊接密封型式,可承受拉、压两种受力型式,抗过载、抗疲劳、抗偏载能力强。
产品用途:TQ-B1波纹管式称重传感器适用于平台秤、包装秤、皮带秤及罐装秤等。
量程:50 N(5kg)、100 N(10kg)、200 N(20kg)、300 N(30kg)、500 N(50kg)、1 kN(100kg)、2 kN(200kg)、3kN(300kg)、5 kN(500kg)
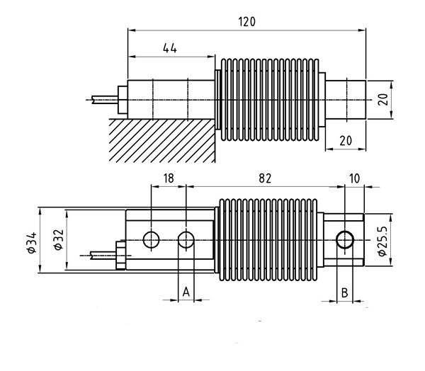
技术参数及外形尺寸:
序号 | 产品技术参数 | |
1 | 额定载荷 | 5-500kg |
2 | 综合精度 | D1;C3 |
3 | 灵敏度 | 2.0mV/V±0.25% |
4 | 零点输出 | ≤0.1%F.S |
5 | 输入阻抗 | 400±50Ω |
6 | 输出阻抗 | 356±1Ω |
7 | 绝缘阻抗 | ≥5000MΩ |
8 | 补偿温度范围 | -10~40℃ |
9 | 适用温度范围 | -30~70℃ |
10 | 安全过载 | 150%F.S |
11 | 极限载荷 | 300%F.S |
12 | 材质 | 不锈钢 |
13 | 激励电压 | 10V(DC) |
14 | 密封等级 | IP68 |
15 | 电缆 | 3m |
16 | 接线方式 | 红……Exc+(输入正) 黑……Exc-(输入负) 绿……Sig+(输出正) 白……Sig-(输出负) |

型号 | 量程 | A | B |
TQ-B1 | 5kg-200kg | 8.2 | 8.2 |
300kg-500kg | 10.2 | 10.2 |
图片与实物略有差异,以实物为准 / 济南泰钦保留随时更改、撤消产品型号、规格的权利,恕不另行通知