TQ-R1吊钩秤传感器
编号:10252
查看:
发布:2020-07-30
TQ-R1吊钩秤传感器具有精度高,抗过载能力强,密封防潮等优点。 TQ-R1吊钩秤传感器广泛应用于各种吊钩秤、港口、码头、起重超载保护设备等
编号:10252
查看:
发布:2020-07-30
TQ-R1吊钩秤传感器具有精度高,抗过载能力强,密封防潮等优点。 TQ-R1吊钩秤传感器广泛应用于各种吊钩秤、港口、码头、起重超载保护设备等
产品特点:TQ-R1吊钩秤传感器具有精度高,抗过载能力强,密封防潮等优点。
产品用途:TQ-R1吊钩秤传感器广泛应用于各种吊钩秤、港口、码头、起重超载保护设备等。
量 程:20kN(2t)、30kN(3t)、50kN(5t)、70kN(7t)、100kN(10t)、
150kN(15t)、200kN(20t)、300kN(30t)、500kN(50t)、700kN(70t)
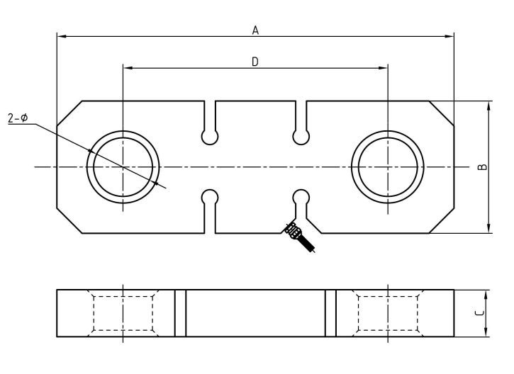
技术参数及外形尺寸:
序号 | 产品技术参数 | |
1 | 额定载荷 | 20-700kN |
2 | 综合精度 | 0.03%F.S |
3 | 灵敏度 | 2.0mV/V |
4 | 蠕变 | ±0.03%F.S/30min |
5 | 零点输出 | ±1%F.S |
6 | 零点温度影响 | ±0.03%F.S/10℃ |
7 | 输出温度影响 | ±0.03%F.S/10℃ |
8 | 输入阻抗 | 380±10Ω |
9 | 输出阻抗 | 350±3Ω |
10 | 绝缘阻抗 | >5000MΩ |
11 | 工作温度范围 | -10~65℃ |
12 | 激励电压 | 10VDC |
13 | 安全过载 | 150%F.S |
14 | 材质 | 合金钢 |
15 | 接线方式 | 红……E+(输入正) 黑……E-(输入负) 绿……S+(输出正) 白……S-(输出负) |

型号 | 量程(kN) | 量程(t) | A | B | C | D | Φ |
TQ-R1 | 20-30 | 2-3 | 200 | 65 | 25 | 130 | 32 |
50 | 5 | 230 | 70 | 30 | 150 | 36 | |
70-100 | 7-10 | 300 | 90 | 38 | 200 | 45 | |
150-200 | 15-20 | 330 | 110 | 42 | 205 | 60 | |
300 | 30 | 350 | 126 | 50 | 216 | 60 | |
500-700 | 50-70 | 500 | 180 | 60 | 320 | 72 |
图片与实物略有差异,以实物为准 / 济南泰钦保留随时更改、撤消产品型号、规格的权利,恕不另行通知